產品中心 PRODUCTS LIST
磁力泵系列
您當前位置:網站首頁 >> 產品中心 >> 磁力泵系列 >> CQB型防爆磁力泵|磁力化工泵

CQB型防爆磁力泵|磁力化工泵
CQB系列磁力泵廣泛應用于石油、化工、冶金、制藥、電鍍、環保等行業,可輸送100℃以下易燃、易爆、劇毒、貴重液體。采用磁力傳動原理,無泄漏輸送腐蝕性介質。流量:3.2-100m3/h 揚程:20-80m 功率:0.75-75KW
目錄
CQB型磁力驅動泵概述
CQB型磁力驅動泵是磁力泵全國聯合設計組開發的新型完全無泄漏耐腐蝕泵,其技術經濟指標與國外同類產品 八十年代末的水平相當,是cq型泵的補充和改進。 主要特點 該泵過流部份采用全不銹鋼材料,對有機酸,有機化合物,堿,中性溶液和多種氣體都有良好的耐蝕性,雙螺旋槽碳 石墨軸承和硬質合金軸套的磨合,具有較強的耐磨性,保證了產品的壽命,是無泄漏輸送腐蝕性介質的理想泵。 無泄漏輸送腐蝕性介質的理想泵型,全國磁力泵聯合設計的優化產品,可以直接取代ih型化工流程泵。CQB型磁力驅動泵適用范圍
CQB系列磁力泵廣泛應用于石油、化工、冶金、制藥、電鍍、環保等行業,可輸送100℃以下易燃、易爆、劇毒、貴重液體。 采用磁力傳動原理,無泄漏輸送腐蝕性介質。 流量:3.2-100m3/h 揚程:20-80m 功率:0.75-75KW
CQB型磁力驅動泵型號意義
CQB型磁力驅動泵性能參數
型號 | 流量 (m3/h) | 揚程 (m) | 轉速 (r/min) | 功率 (kw) |
CQB32-20-125 | 3.2 | 20 | 1.1 | |
CQB32-20-160 | 32 | 1.5 | ||
CQB40-25-105 | 6.3 | 12.5 | 1.1 | |
CQB40-25-125 | 20 | 2.2 | ||
CQB40-25-160 | 32 | 3 | ||
CQB40-25-200 | 50 | 5.5 | ||
CQB50-40-85 | 12.5 | 8 | 1.1 | |
CQB50-32-105 | 12.5 | 1.5 | ||
CQB50-32-125 | 20 | 3 | ||
CQB50-32-160 | 32 | 4 | ||
CQB50-32-200 | 50 | 7.5 | ||
CQB50-32-250 | 80 | 18.5 | ||
CQB65-50-125 | 25 | 20 | 2900 | 4 |
CQB65-50-160 | 32 | 7.5 | ||
CQB65-40-200 | 50 | 15 | ||
CQB65-40-250 | 80 | 22 | ||
CQB80-65-125 | 50 | 20 | 7.5 | |
CQB80-65-160 | 32 | 15 | ||
CQB80-50-200 | 50 | 22 | ||
CQB80-50-250 | 80 | 37 | ||
CQB100-80-125 | 100 | 20 | 15 | |
CQB100-80-160 | 32 | 22 | ||
CQB100-65-200 | 50 | 37 | ||
CQB100-65-250 | 80 | 55 | ||
CQB150-150-200 | 200 | 50 | 55 | |
CQB200-200-400 | 400 | 32 | 1450 | 75 |
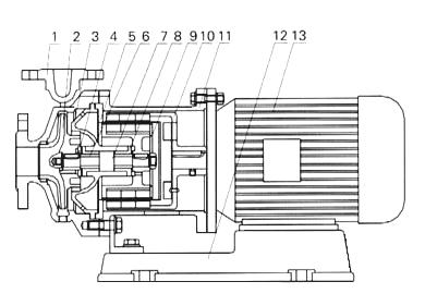
CQB型磁力驅動泵結構圖
1
|
泵體 | 2 | 葉輪 | 3 | 軸承體 | 4 | 止推環 | 5 | 隔離套 | 6 | 軸套 | 7 | 泵軸 |
8 | 軸承 | 9 | 內磁鋼總成 | 10 | 外磁鋼總成 | 11 | 聯接架 | 12 | 底座 | 13 | 電機 |

CQB型磁力驅動泵安裝尺寸
型號 | A | AD | B | L | L1 | H1 | H2 | a | A1 | A2 | A3 | H | H3 | H4 | L2 | L3 | L4 | L5 | L6 | h | n-d |
CQB32-20-125 | 125 | 150 | 100 | 458 | 133 | 120 | 90 | 65 | |||||||||||||
CQB32-20-160 | 140 | 155 | 100 | 483 | 143 | 160 | 90 | 65 | |||||||||||||
CQB40-25-105 | 125 | 150 | 100 | 458 | 133 | 120 | 90 | 65 | |||||||||||||
CQB40-25-125 | 140 | 155 | 125 | 508 | 143 | 160 | 112 | 65 | |||||||||||||
CQB40-25-160 | 160 | 180 | 140 | 706 | 230 | 160 | 112 | 80 | 300 | 330 | 360 | 197 | 357 | 342 | 263 | 40 | 120 | 320 | 560 | 75 | 4-ф17 |
CQB40-25-200 | 261 | 210 | 140 | 821 | 275 | 160 | 132 | 80 | 350 | 380 | 410 | 232 | 392 | 415 | 329 | 87 | 160 | 325 | 645 | 50 | 4-ф22 |
CQB50-40-85 | 125 | 150 | 100 | 458 | 133 | 120 | 90 | 80 | |||||||||||||
CQB50-32-105 | 140 | 155 | 125 | 508 | 143 | 160 | 112 | 80 | |||||||||||||
CQB50-32-125 | 160 | 180 | 140 | 706 | 234 | 160 | 112 | 80 | 300 | 330 | 360 | 197 | 337 | 342 | 263 | 40 | 120 | 320 | 560 | 75 | 4-ф17 |
CQB50-32-160 | 190 | 190 | 140 | 800 | 290 | 160 | 112 | 80 | 300 | 330 | 360 | 217 | 377 | 370 | 344 | 43 | 120 | 415 | 655 | 100 | 4-ф17 |
CQB50-32-200 | 216 | 210 | 140 | 817 | 282 | 180 | 132 | 80 | 350 | 380 | 410 | 245 | 425 | 428 | 325 | 43 | 120 | 465 | 705 | 80 | 4-ф22 |
CQB50-32-250 | 254 | 255 | 210 | 987 | 337 | 225 | 160 | 100 | 380 | 410 | 440 | 300 | 525 | 525 | 397 | 55 | 150 | 550 | 850 | 80 | 4-ф22 |
CQB65-50-125 | 216 | 210 | 140 | 836 | 290 | 160 | 132 | 80 | 350 | 380 | 410 | 197 | 337 | 350 | 344 | 40 | 120 | 410 | 650 | 75 | 4-ф17 |
CQB65-50-160 | 216 | 210 | 140 | 836 | 290 | 160 | 132 | 80 | 350 | 380 | 410 | 217 | 377 | 400 | 344 | 40 | 120 | 410 | 650 | 75 | 4-ф17 |
CQB65-40-200 | 254 | 255 | 210 | 962 | 324 | 180 | 160 | 100 | 380 | 410 | 440 | 260 | 440 | 485 | 372 | 54 | 150 | 565 | 865 | 110 | 4-ф22 |
CQB65-40-250 | 279 | 285 | 241 | 1032 | 324 | 225 | 180 | 100 | 380 | 410 | 440 | 300 | 525 | 550 | 385 | 54 | 150 | 565 | 865 | 110 | 4-ф22 |
CQB80-65-125 | 216 | 210 | 140 | 817 | 282 | 160 | 132 | 81 | 350 | 380 | 410 | 217 | 377 | 457 | 325 | 43 | 120 | 465 | 705 | 80 | 4-ф17 |
CQB80-65-160 | 254 | 255 | 210 | 1013 | 350 | 180 | 160 | 100 | 380 | 410 | 440 | 260 | 440 | 485 | 423 | 98 | 210 | 395 | 815 | 90 | 4-ф22 |
CQB80-50-200 | 254 | 255 | 254 | 1086 | 380 | 200 | 160 | 100 | 380 | 410 | 440 | 260 | 460 | 485 | 451 | 50 | 210 | 450 | 870 | 90 | 4-ф22 |
CQB80-50-250 | 318 | 310 | 305 | 1251 | 390 | 225 | 200 | 125 | 470 | 500 | 530 | 320 | 545 | 595 | 476 | 127 | 210 | 490 | 910 | 110 | 4-ф22 |
CQB100-80-125 | 254 | 255 | 210 | 958 | 308 | 180 | 160 | 100 | 380 | 410 | 440 | 260 | 440 | 485 | 368 | 127 | 210 | 400 | 820 | 80 | 4-ф17 |
CQB100-80-160 | 254 | 255 | 254 | 1003 | 308 | 200 | 160 | 100 | 380 | 410 | 440 | 280 | 480 | 505 | 368 | 127 | 210 | 400 | 820 | 80 | 4-ф22 |
CQB100-65-200 | 318 | 310 | 305 | 1262 | 412 | 225 | 180 | 100 | 470 | 500 | 530 | 320 | 545 | 595 | 512 | 141 | 250 | 560 | 1060 | 130 | 4-ф28 |
CQB100-65-250 | 318 | 310 | 305 | 1290 | 412 | 250 | 200 | 125 | 470 | 500 | 530 | 340 | 590 | 645 | 512 | 141 | 250 | 560 | 1060 | 130 | 4-ф28 |
CQB型磁力驅動泵安裝和使用
1、CQB型磁力驅動泵應水平安裝,不宜豎立,塑料泵體不得承受管路重量,對于特殊要求垂直安裝的場合,電機務必朝上。
CQB型磁力驅動泵使用注意事項
1、因磁力泵軸承的冷卻和潤滑是靠被輸送的介質,所以絕對禁止空動轉,同時避免在工作中途停電后再啟動 時所造成時空載運轉。
故障與排除方法
故障形式 | 產 生原因 | 排除方法 |
泵不出水 |
1.水泵反轉 2.進水管道漏氣 3.泵腔蓄水不足 4.電壓太高,苣動時聯軸器打滑 5.吸程太高 6.閥門沒有打開 |
1.改變電譏接線 2.社絕漏氣 3.增加蓄水量 4.調正電壓 5.降低泵安裝位置 6.校正或更?閥門 |
流量不足 |
1.吸入管徑太小或淤塞 2.葉輪流道阻塞 3.揚程過高 4.轉速不夠 |
1.調換或清洗水管 2.清洗葉輪 3.開大出水閥 4.恢復額定轉速 |
揚程過低 |
1.流量過大 2.轉速太低 |
1.關小出水閥 2.恢復額定轉速 |
噪音太大 |
1.軸嚴重磨損 2.軸承嚴重磨損 3.外磁鋼或?磁鋼與隔離套接觸 4.密封環與葉輪研磨 |
1.更換泵軸 2.更換軸承 3.拆除泵頭重新組裝 4.更換止推環、密封環 |
漏 液 | O型密封圈損壞 | 更換O型密封圈 |
相關文章