

QBY型塑料氣動隔膜泵(單邊型)
流量:0-30m3/h;
揚程:0-50m;
口徑:10-100mm;
溫度:-15-+120℃;
壓力:0.1-0.7MPa;
自吸高度:5-7m。
目錄
QBY氣動隔膜泵概述
QBY系列氣動隔膜泵是一種新型輸送機械,是目前國內新穎的一種泵類。采用空氣壓縮機壓縮空氣為動力源,對于各種腐蝕性液體,帶顆粒的液體,高粘度、易揮發、易燃、劇毒的液體,均能予以抽光吸盡。其性能參數與聯邦德國的 WLLDENPVMPS、美國的MARIOWPUMPS相近.本廠目前已形成系列化生 產,共有八種規格直徑:¢10mm(3/8")、¢15mm(1/2")、¢25mm(1")、¢40mm( 1 1/2")、¢50mm(2")、¢65mm( 2 1/2")、¢80mm(3")、¢100mm(4")。三種材質、鋁合金、鑄鐵、不銹鋼。隔膜泵根據不同液體介質分別采用丁晴橡膠、氯丁橡膠、氟橡膠、聚四氟乙烯。以滿足不同用戶的需要。該泵自投產以來,已被國內一千多家石油、化工、電子、陶瓷、紡織、油漆、制藥機械系統單位采用,安置在種特殊場合,用來抽送各種常規泵不能抽吸的介質,且替代齒輪泵的理想產品,均取的了滿意的效果。
QBY氣動隔膜泵性能參數
型號 |
流量 (m3/h) |
揚程 (m) |
出口壓力 (kgf/cm2) |
吸程 (m) |
大允許能 過顆粒直徑 (mm) |
大供氣壓力 (kbf/cm2) |
大供氣消耗量 (m3/min) |
材料 | |||
鋁合金 | 不銹鋼 | 鑄造鐵 | 增強聚丙烯 | ||||||||
QBY-10 | 0~0.8 | 0~50 | 6 | 5 | 1 | 7 | 0.3 | ★ | ★ | ★ | ★ |
QBY-15 | 0~1 | 0~50 | 6 | 5 | 1 | 7 | 0.3 | ★ | ★ | ★ | ★ |
QBY-25 | 0~2.4 | 0~50 | 6 | 7 | 2.5 | 7 | 0.6 | ★ | ★ | ★ | ★ |
QBY-40 | 0~8 | 0~50 | 6 | 7 | 4.5 | 7 | 0.6 | ★ | ★ | ★ | ★ |
QBY-50 | 0~12 | 0~50 | 6 | 7 | 8 | 7 | 0.9 | ★ | ★ | ★ | ★ |
QBY-65 | 0~16 | 0~50 | 6 | 7 | 8 | 7 | 0.9 | ★ | ★ | ★ | ★ |
QBY-80 | 0~24 | 0~50 | 6 | 7 | 10 | 7 | 1.5 | ★ | ★ | ★ | ★ |
QBY-100 | 0~30 | 0~50 | 6 | 7 | 10 | 7 | 1.5 | ★ | ★ | ★ | / |
注:★-有 ∕-無
QBY氣動隔膜泵主要用途
1、泵吸花生醬、泡菜、土豆泥、小紅腸、果醬蘋果漿、巧克力等。
2、泵吸油漆、樹膠、顏料。
3、粘合劑和膠水、全部種類可用泵吸取。
4、各種瓦、瓷、磚器及陶器釉漿。
5、油井鉆好后,用泵吸沉積物及灌漿。
6、泵吸各種乳劑和填料。
7、泵吸各種污水。
8、用泵為油輪,駁船清倉吸取倉內污水。
9、啤酒花及發酵粉稀漿、糖漿、糖密。
10、泵吸礦井、坑道、隧道、選礦、礦渣中的積水。泵吸水泥灌漿及灰漿。
11、各種橡膠漿。
12、各種磨料、腐蝕劑、石油及泥漿、清洗油垢及一般容器。
13、各種劇毒、易燃、易揮發液體。
14、各種強酸、強堿、強腐蝕液體。
15、各種高溫液體高可耐150℃。
16、作為各種固液分離設備的前級送壓裝置。
QBY氣動隔膜泵技術參數
流量:0-30m3/h;
揚程:0-50m;
口徑:10-100mm;
溫度:-15-+120℃;
壓力:0.1-0.7MPa;
自吸高度:5-7m。
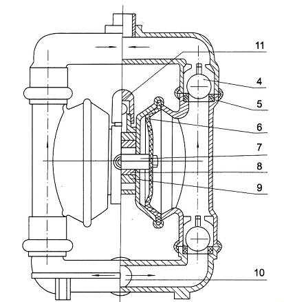
QBY氣動隔膜泵結構圖
1 進氣口 2 配氣閥體 3 配氣閥 4 圓球 5 球座 6 隔膜 7 連桿 8 連桿銅套 9 中間支架 10 泵進口 11 排氣口
QBY氣動隔膜泵型號意義
QBY氣動隔膜泵使用注意事項
1.本泵振動極其輕微,一般情況可不裝底腳螺栓。
2.如壓縮空氣有臟物進入,將會影響泵的正常啟動,建議用戶加裝氣動三聯件。
3.在抽吸易凍結的介質時,應在泵的進口處裝閥門,當停止用泵時,先將該閥關閉,然后再開泵數分鐘,將泵體介質排凈為止以免造成下次開泵困難。
更換隔膜時,須將泵內腕連桿,鉛套清洗干凈,并不要損壞白色四氟密封圈,按原樣裝好,即可使用。
QBY氣動隔膜泵應用實例
1、油罐清底,盡管有墊水法抽油,也不能保證將油抽凈,表面總要剩下至少3-5mm厚的油層。以5000m3油罐為例,每次大約損耗1-1.5t油。對于有低位脫水槽的油罐,雖可將剩下的油和水排放到含油污水處理場回收,但是揮發的油品在輸送過程中大都揮發殆盡,且污染環境。
2、臨時倒罐、裝卸車和油品采樣,煉油生產調度過程中,油品經常要臨時倒罐、裝車和對油罐中油品采樣檢驗。或者為了不至于污染正常的管線時,用隔膜泵接臨時管線可以迅速方便地完成此項任務。
3、油輪倉底油回收一條3000t的油輪用固定螺桿泵卸油,倉庫隔板之間至少要剩余50t油,若用排量較大的隔腆泵,可以收到很好的效果。
4、瓦斯、硫化氫殘液的輸送煉油廠火炬底部的瓦斯殘液和含硫水,需要集中排放和處理,否則會形成酸性腐蝕設備。
5、陶瓷行業:用該泵抽吸釉漿,并可用于向壓濾機送壓。
6、下水井、暗溝排除漬水、污油在下水井管道,閥門及暗溝檢修時,需要排除漬水和污油。用潛水泵雖可抽盡潰水,但往往這些地方都遠離電源,很不方便。使用隔膜泵則可采用壓縮氣瓶作動力,回收污油,排泄潰水。
7、污水處理場和污泥池的清掃污水處理場的污泥池,常常聚積大量的油泥和淤沙,需要清掃,采用隔膜泵抽吸靈活、方便省工、省力、省時。
8、液化氣泵房和化驗室排漬水,由于這些地方地勢較低,又是一級防火區,采用隔膜泵排漬水比較安全,比用水抽子、汽抽子效率高出好多倍。
9、此外,此泵應用于環烷酸精制轉料,裝車亞硫酸納液體輸送,苯類原料裝卸車等方面都有它自己的優勢。
我要評論 | |
公司名稱/個人: | |
手機/電話: | |
評論內容: | |